Product Summary
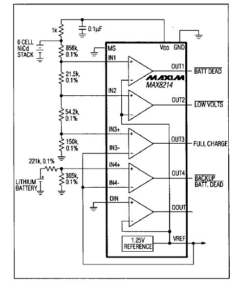
The MAX8213BCSE+T is a five universal voltage monitor. It is suitable for microprocessor voltage monitoring, precision battery monitoring, industrial controllers, appliances, telephones, portable computers, mobile radios, portable instruments, automotive and industrial equipment and so on. Its package is SOP16.
Parametrics
Absolute maximum ratings: (1)VDD to GND: -0.3V to +12V; (2)digital input voltage to GND: -0.3V to VDD+0.3V; (3)VREF to GND: -0.3V to VDD+0.3V; (4)VOUT to GND: -0.3V to VDD+0.3V; (5)storage temperature range: -65℃ to +165℃; (6)lead temperature (soldering, 10sec): +300℃.
Features
Features: (1)4 precision comparators plus auxillary comparator; (2)built-in hysteresis; (3)internal 1.25V reference with 0.75% initial accuracy; (4)wide supply range: 2.7V to 11V; (5)controlled comparator response for glitch immunity; (6)33μA max supply current over temp..
Diagrams

| Image | Part No | Mfg | Description | ![]() |
Pricing (USD) |
Quantity | ||||||||||||
|---|---|---|---|---|---|---|---|---|---|---|---|---|---|---|---|---|---|---|
![]() |
![]() MAX8213BCSE+T |
![]() Maxim Integrated Products |
![]() Supervisory Circuits Quint uPower Voltage Monitor |
![]() Data Sheet |
![]()
|
|
||||||||||||
| Image | Part No | Mfg | Description | ![]() |
Pricing (USD) |
Quantity | ||||||||||||
![]() |
![]() MAX800L |
![]() Other |
![]() |
![]() Data Sheet |
![]() Negotiable |
|
||||||||||||
![]() |
![]() MAX800LCPE |
![]() Maxim Integrated Products |
![]() Supervisory Circuits |
![]() Data Sheet |
![]() Negotiable |
|
||||||||||||
![]() |
![]() MAX800LCPE+ |
![]() Maxim Integrated Products |
![]() Supervisory Circuits MPU Supervisor |
![]() Data Sheet |
![]()
|
|
||||||||||||
![]() |
![]() MAX800LCSE |
![]() Maxim Integrated Products |
![]() Supervisory Circuits |
![]() Data Sheet |
![]() Negotiable |
|
||||||||||||
![]() |
![]() MAX800LCSE+ |
![]() Maxim Integrated Products |
![]() Supervisory Circuits MPU Supervisor |
![]() Data Sheet |
![]()
|
|
||||||||||||
![]() |
![]() MAX800LCSE+T |
![]() Maxim Integrated Products |
![]() Supervisory Circuits MPU Supervisor |
![]() Data Sheet |
![]()
|
|
||||||||||||
(China (Mainland))










